当前位置:竞速新次元 > 行业动态 > 沙龙汽车首款车型或命名 ”机甲龙“ 做机甲科技新品类

沙龙汽车首款车型或命名 ”机甲龙“ 做机甲科技新品类

2024年11月17日21时19分53秒 行业动态    来源:竞速新次元

沙龙汽车首款车型或将正式命名为”机甲龙“。沙龙官方还透露了新车的部分配置信息,新车将搭载双电机四驱系统,车辆的0-100km/h加速时间为3.7秒,CLTC续航里程802km,并搭载了800V/480kW的快充系统。

图片来源于网络

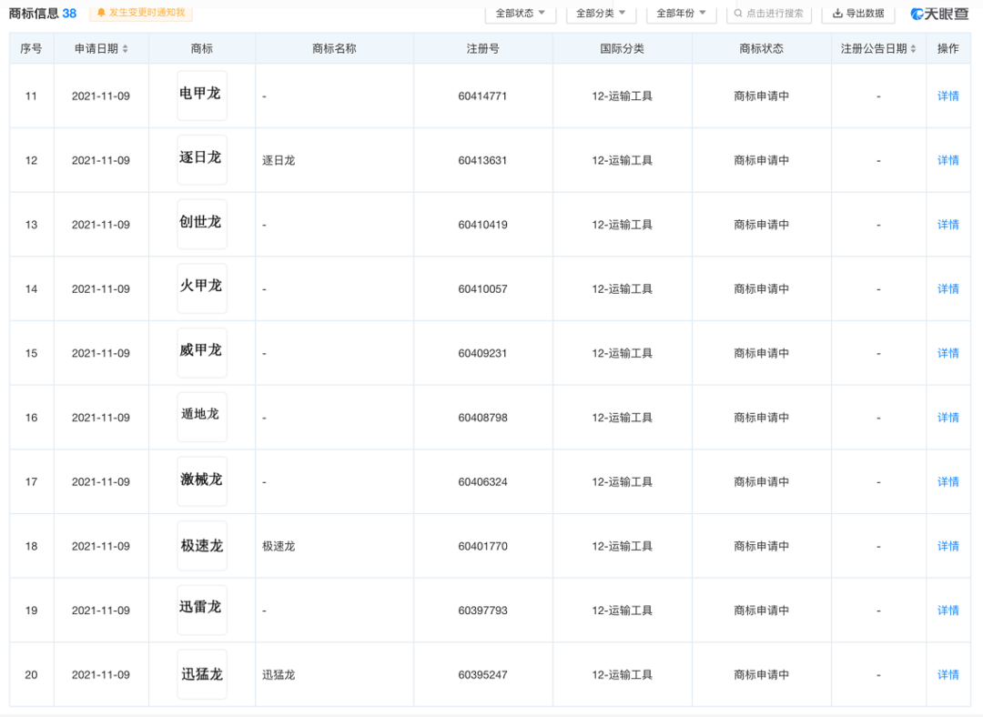
除此之外,我们从天眼查商标注册查询得知,沙龙智行科技有限公司还注册了精钢龙、风暴龙、战斗龙等一系列“龙”系商标,注册图标分类为运输工具。此举可视作是沙龙抢占商标使用权的行为,也可推测“龙”系名字将会成为以后沙龙品牌车型的命名方式。

图片来源于网络

距离广州车展正式亮相的前几天时间里,沙龙汽车官方每天都在公布一个关于沙龙首款车型的亮点。目前,我们已知沙龙首款车型将定位为“高性能机甲战跑”,拥有机甲风格的造型设计。同时,新车将拥有 3.7 秒的零百公里加速、全球首搭 4 激光雷达。就在今日,沙龙官方预告称首款车型将全球首发双 MDC 智能驾驶计算平台。

图片来源于网络

新车采用达芬奇架构,NPU算力高达400TOPS,CPU算力高达440K DMIPS,双重安全冗余,实现高阶MRC,更有独立的MCU安全监控。并且车辆还搭载了4颗华为96线混合固态激光雷达,单颗视角范围可达120°*25°,并拥有可智能清洗和自动加热功能。

新车使用了115kwh的大禹电池,拥有4层级5维度矩阵设计、8大核心技术,抗1000度高温。车辆的CLTC续航里程802km,充电10分钟续航401km,15分钟续航545km。

沙龙汽车还是长城汽车 100% 持有的子公司。在组织架构上,沙龙品牌是唯一离开保定、独立运营的子品牌。北京是沙龙运营管理总部,研发分布在北京、上海、保定三地。生产方面,一开始会让长城代工。技术路线上,原本定位氢电双驱,现在专注于纯电。